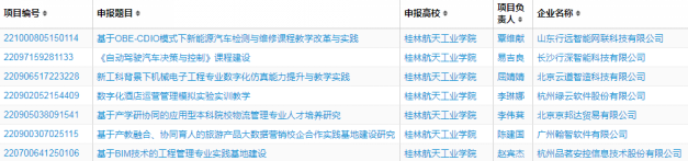
近日,教育部发布《教育部高等教育司关于公布2022年第一批产学合作协同育人项目立项名单的通知》(教高司函〔2023〕1号)文件。其中,我校共有7个项目获批立项。

产学合作协同育人项目是深入贯彻《“十四五”教育发展规划》、《国务院办公厅关于深化产教融合的若干意见》(国办发〔2017〕95号)精神,落实《教育部 工业和信息化部 中国工程院关于加快建设发展新工科 实施卓越工程师教育培养计划2.0的意见》(教高〔2018〕3号)要求,学校持续加强校企合作协同育人平台建设和项目申报组织工作,为学生实践创新能力培养提供了有力支撑。学校将以获批项目为依托,进一步推动产教融合育人工作,不断提升人才培养质量。